RXMA2(DZ-655)繼電器的技術數據及原理-上海上繼科技有限公司
發表時間:2020-05-16 13:24 瀏覽次數:1002 〖返回〗
一、RXMA2(DZ-655)繼電器的用途
該繼電器用于電力系統二次回路及工業自動化控制回路中,作為中間輔助,擴大控制范圍之用。
二、RXMA2(DZ-655)繼電器的優勢
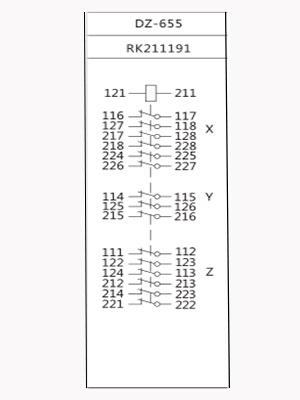
1提供多至15付動合或動斷以及轉換觸點,可筒化繼電保護及自動化控制方案,結構緊法;不必通過兩個或多個繼電器的串聯或并聯來增加觸點數量。
2 通過罩殼上的小孔拔動行鐵可以試驗觸點動作情況。
3線圈激勵為直流。
三、RXMA2(DZ-655)繼電器的原理
RXMA2中間繼電器為電磁拍合式結構,由電磁系統,接觸系統二部分組成。當線圈通電時,通過鐵芯產生磁場吸合吸片,由吸片帶動簧片使觸點回路轉換。觸采用雙觸點接觸 ,具有接觸電阻小,接觸可靠、斷開容量大等優點。吸片設計時慣量很小,所以該繼電器能耐受一定量的沖擊及振動,并能耐受地震波的沖擊。繼電器外殼采用引進的Combiflex凸出式模數化插入結構。
四、RXMA2(DZ-655)繼電器的技術數據
1動作電壓:<70%額定電壓。
2返回電壓: >5%額定電壓。
3線圈功耗:<6W。
4觸點長期允許通過5A電流;當通過電流的時間<200ms時,允許通過90A電流;當通過電流的時間為1s時,,允許通過50A電流。
5觸點斷開能力: AC 250V時為5A(功率因數>0.4) , 250VA。 DC: 250V2A L/R=40ms時, 45W。

6絕緣耐壓: 50Hz, lmin, 2kV
7沖擊電壓: 5kV。
8能承受5-15Hz中等震級的地震波沖擊。
9額定電壓及線圈阻值。

10觸點形式及特點

上海上繼科技有限公司(專注電力保護繼電器生產廠家)銷售熱線:021-57233089 QQ:1932551438
{以上內容僅供參考,上海上繼科技有限公司有最終解釋權}
更多繼電器精彩文章——DZB-555繼電器





